電源浪涌保護器接線為什么是并聯(lián),而不是串聯(lián)?
電源浪涌保護器也叫電源防雷模塊、SPD防雷器等,主要安裝于電氣柜內35mm標準導軌上。
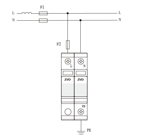
接線時從主開關引線并聯(lián)到浪涌保護器上的L和N端口,如下圖所示:
這時很多朋友會疑問,并聯(lián)在線路上能起到防雷作用嗎?感覺應該要串聯(lián)才能起到阻隔浪涌的作用呀?
根據浪涌保護器選型經驗,中為防雷從以下內容給大家介紹“電源浪涌保護器接線為什么是并聯(lián)而不是串聯(lián)”。
1、浪涌保護器內部元器件無法直接串聯(lián)在線路中
我們知道,浪涌保護器內部的主要元器件是MOV壓敏電阻和GDT放電管,這些元器件兩端阻抗正常是無窮大的,直接串聯(lián)在線路上就相當于斷開線路了,所以浪涌保護器內部元器件就注定只能并聯(lián)無法串聯(lián)。
那么為什么有些電源浪涌保護器接線是串聯(lián)呢,比如中為防雷公司的ACM-10系列。
其實,雖然這款產品外部接線是串聯(lián),但是內部防雷元器件還是并聯(lián)在線路中的。有些串聯(lián)型的電源防雷器會在線路上串聯(lián)電感等退耦器件,實現多級防雷效果,但是只能用于小電流環(huán)境(一般在2A以下),具有很大的局限性。
目前電力系統(tǒng)常用的一二三級浪涌保護器使用環(huán)境都是電流在幾十到幾百甚至幾千安的電流環(huán)境,只有并聯(lián)型產品更適合。
講到這里順便提一下:浪涌保護器因為是并聯(lián)在線路上,所以系統(tǒng)電流的大小是無法直接影響到浪涌保護器的。
2、并聯(lián)一樣起到防雷效果
浪涌保護器主要的工作原理是,當系統(tǒng)線路上產生過電壓浪涌,并聯(lián)在線路上的防雷模塊內部壓敏或放電管,阻抗會變?yōu)闃O低,雷電浪涌的特性就是哪里阻抗低走哪里,所以會通過浪涌保護器引入大地,起到泄放浪涌的效果。
所以,浪涌保護器并聯(lián)在線路中是沒毛病的。不過可別忘記接地,如果浪涌保護器不接地,泄放通道沒有了,那并聯(lián)在線路上的浪涌保護器真就起不到作用了。
ZVD中為防雷,轉載需授權!http://www.kaiyuanfeather.com.cn/knowledge/0421417.html
廣東中為智能防雷技術有限公司
